| key | PART NO. | PART NAME | QTY | SERIAL NO. | REMARKS | |
|---|---|---|---|---|---|---|
| 1 | AA56167 | Hub | 1 | |||
| 2 | AA42528 | Hub | 1 | |||
| 3 | JD7846 | Lubrication Fitting | 1 | |||
| 4 | JD8225 | Bearing Cup | 2 | |||
| 5 | A22468 | Nut | 1 | |||
| 6 | A23321 | Washer | 2 | |||
| 7 | A40689 | Shaft | 1 | |||
| 8 | JD8187 | Bearing Cone | 2 | |||
| 9 | T140425 | Snap Ring | 1 | |||
| 10 | 22H898 | Set Screw | 1 | 1/4" X 3/8" | ||
| key | PART NO. | PART NAME | QTY | SERIAL NO. | REMARKS | |
| 11 | 32167 | Seal | 2 | |||
| 12 | AN132749 | Tire Valve Stem | 1 | |||
| 13 | JD1091 | Wheel | 1 | |||
| 14 | JD16 | Wheel Bolt | 3 | SUB FOR W14093 | ||
| 15 | 19M7303 | Cap Screw | 2 | M12 X 45 | ||
| 16 | 19M7487 | Cap Screw | 2 | M20 X 50 | ||
| 17 | 12M7070 | Lock Washer | 2 | 20 mm | ||
| 18 | A40657 | Spacer | 1 |
| key | PART NO. | PART NAME | QTY | SERIAL NO. | REMARKS | |
|---|---|---|---|---|---|---|
| 1 | AA56167 | Hub | 1 | |||
| 2 | AA42528 | Hub | 1 | |||
| 3 | JD7846 | Lubrication Fitting | 1 | |||
| 4 | JD8225 | Bearing Cup | 2 | |||
| 5 | A22468 | Nut | 1 | |||
| 6 | A23321 | Spacer | 2 | |||
| 7 | A40689 | Shaft | 1 | |||
| 8 | JD8187 | Bearing Cone | 2 | |||
| 9 | T140425 | Snap Ring | 1 | |||
| 10 | 22H898 | Set Screw | 1 | 1/4" X 3/8" | ||
| key | PART NO. | PART NAME | QTY | SERIAL NO. | REMARKS | |
| 11 | 32167 | Seal | 2 | |||
| 12 | A40657 | Spacer | 1 |
| key | PART NO. | PART NAME | QTY | SERIAL NO. | REMARKS | |
|---|---|---|---|---|---|---|
| 1 | A46636 | Shift Collar Carrier | 1 | |||
| 2 | A46637 | Pin Fastener | 2 | |||
| 3 | A71921 | Chain Sprocket | 1 | Z = 24 | ||
| 4 | A50744 | Bolt | 2 | |||
| 5 | 11M7084 | Cotter Pin | 2 | 5 X 25 mm | ||
| 6 | 14M7273 | Nut | 2 | M8 | ||
| 7 | 24H1338 | Washer | 2 | 33/64" X 7/8" X 0.048" | ||
| 8 | A82042 | Spring | 2 | |||
| 9 | L1152N | Snap Ring | 1 |
| key | PART NO. | PART NAME | QTY | SERIAL NO. | REMARKS | |
|---|---|---|---|---|---|---|
| 1 | AA32776 | Drive Sprocket | 1 | Z = 12, 50 Pitch | ||
| 2 | A31867 | Lock Nut | 3 | |||
| 3 | A51001 | Screw | 1 | |||
| 4 | A51002 | Arm | 1 | RH, Idler | ||
| A51003 | Arm | 1 | LH, Idler | |||
| 5 | 28H3412 | Washer | 1 | 0.493" X 0.675" X 3/8" | ||
| 6 | A50386 | Chain Sprocket | 1 | Z = 28 | ||
| 7 | 19M7303 | Cap Screw | 2 | M12 X 45 | ||
| 8 | A46643 | Spring | 1 |
| key | PART NO. | PART NAME | QTY | SERIAL NO. | REMARKS | |
|---|---|---|---|---|---|---|
| 1 | 14M7274 | Nut | 4 | M10 | ||
| 2 | 19M7180 | Cap Screw | 2 | M10 X 45 | ||
| 3 | 19M7303 | Cap Screw | 1 | M12 X 45 | ||
| 4 | 24M7047 | Washer | 1 | 13 X 24 X 2.500 mm | ||
| 5 | A31867 | Lock Nut | 1 | |||
| 6 | A42329 | Bracket | 1 | |||
| 7 | AA32776 | Drive Sprocket | 1 | Z = 12, 50 Pitch | ||
| 8 | B33873 | Bushing | 1 | |||
| 9 | A40690 | Deflector | 1 | |||
| 10 | 24M7239 | Washer | 2 | 10.700 X 21 X 2.500 mm |
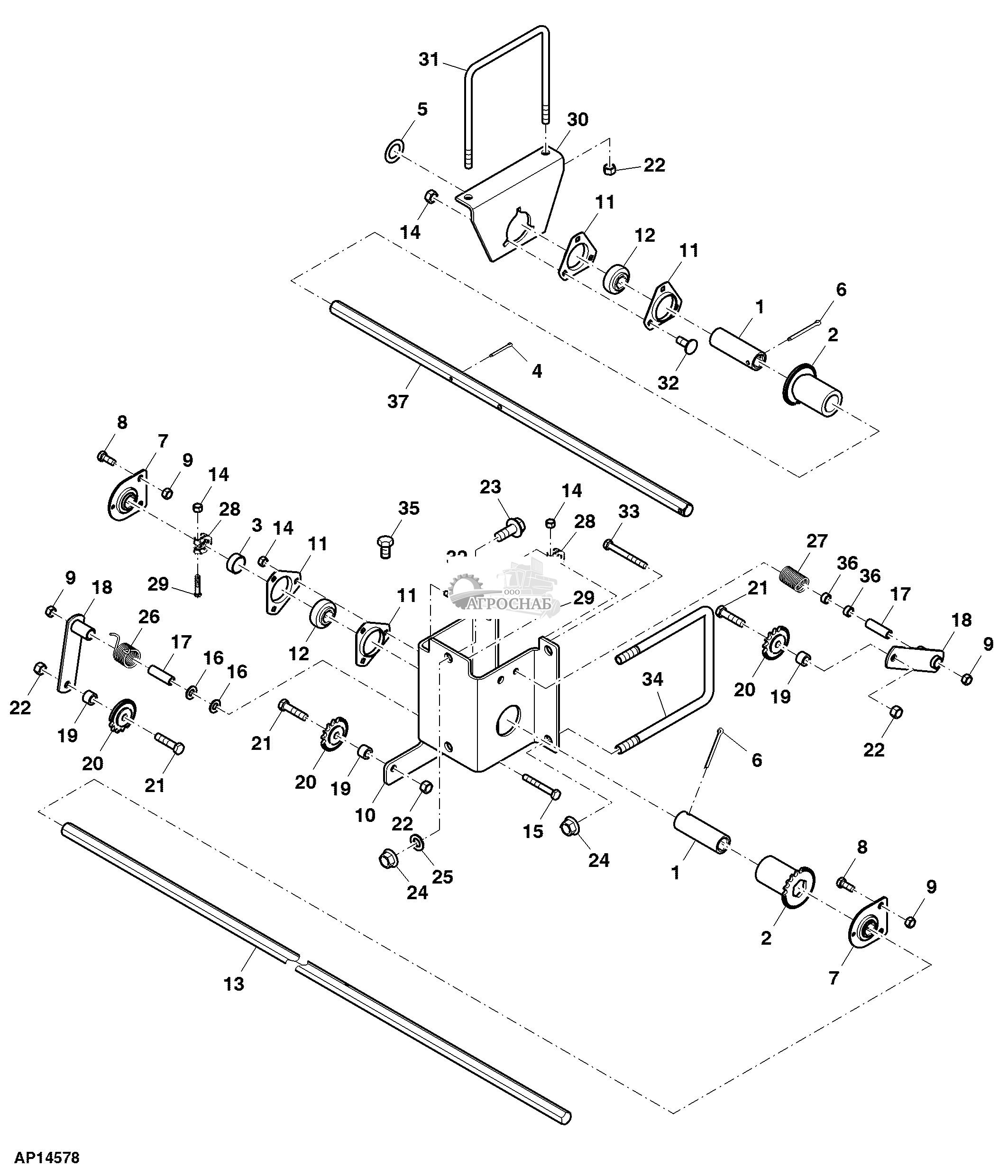
| key | PART NO. | PART NAME | QTY | SERIAL NO. | REMARKS | |
|---|---|---|---|---|---|---|
| 1 | A47451 | Locking Collar | 2 | |||
| 2 | AA34369 | Chain Sprocket | 2 | |||
| 3 | 28H3409 | Bushing | 1 | 1.049" X 1.315" X 7/16" | ||
| 4 | 11M7030 | Cotter Pin | 1 | 5 X 40 mm | ||
| 5 | 24H1465 | Washer | 1 | 1-3/32" X 1-3/4" X 0.060" | ||
| 6 | 11M7085 | Cotter Pin | 2 | 6.300 X 63 mm | ||
| 7 | AA35646 | Bearing With Housing | 2 | |||
| 8 | 19M7402 | Cap Screw | 4 | M10 X 25 | ||
| 9 | 14M7274 | Nut | 6 | M10 | ||
| 10 | A91379 | Bracket | 1 | |||
| key | PART NO. | PART NAME | QTY | SERIAL NO. | REMARKS | |
| 11 | H103264 | Pressed Flanged Housing | 4 | |||
| 12 | JD9260 | Ball Bearing | 2 | |||
| 13 | A91402 | Bar | 1 | |||
| 14 | 14M7273 | Nut | 8 | M8 | ||
| 15 | 19M7329 | Cap Screw | 1 | M10 X 75 | ||
| 16 | 24M7047 | Washer | 2 | 13 X 24 X 2.500 mm | ||
| 17 | A44705 | Bushing | 2 | |||
| 18 | AA32771 | Arm | 2 | |||
| 19 | 28H3400 | Spacer | 3 | 0.546" X 0.840" X 9/16" | ||
| 20 | AA32729 | Chain Sprocket | 3 | Z = 14 | ||
| key | PART NO. | PART NAME | QTY | SERIAL NO. | REMARKS | |
| 21 | 19M7073 | Cap Screw | 3 | M12 X 50 | ||
| 22 | 14M7275 | Nut | 5 | M12 | ||
| 23 | 19M7793 | Screw | 2 | M16 X 40 | ||
| 24 | 14M7291 | Flange Nut | 6 | M16 | ||
| 25 | 24M7053 | Washer | 2 | 17 X 30 X 3 mm | ||
| 26 | A69996 | Torsion Spring | 1 | |||
| 27 | A60909 | Extension Spring | 1 | |||
| 28 | A53746 | Clamp | 2 | |||
| 29 | 19M7295 | Cap Screw | 2 | M8 X 45 | ||
| 30 | A52513 | Bracket | 1 | |||
| key | PART NO. | PART NAME | QTY | SERIAL NO. | REMARKS | |
| 31 | A46534 | U-Bolt | 1 | |||
| 32 | 03M7184 | Bolt | 6 | M8 X 20 | ||
| 33 | 19M7408 | Cap Screw | 1 | M10 X 90 | ||
| 34 | A46533 | U-Bolt | 2 | |||
| 35 | 19M7784 | Screw | 1 | M10 X 20 | ||
| 36 | 28H3482 | Washer | 2 | 0.493" X 0.675" X 5/16" | ||
| 37 | A54326 | Bar | 1 |
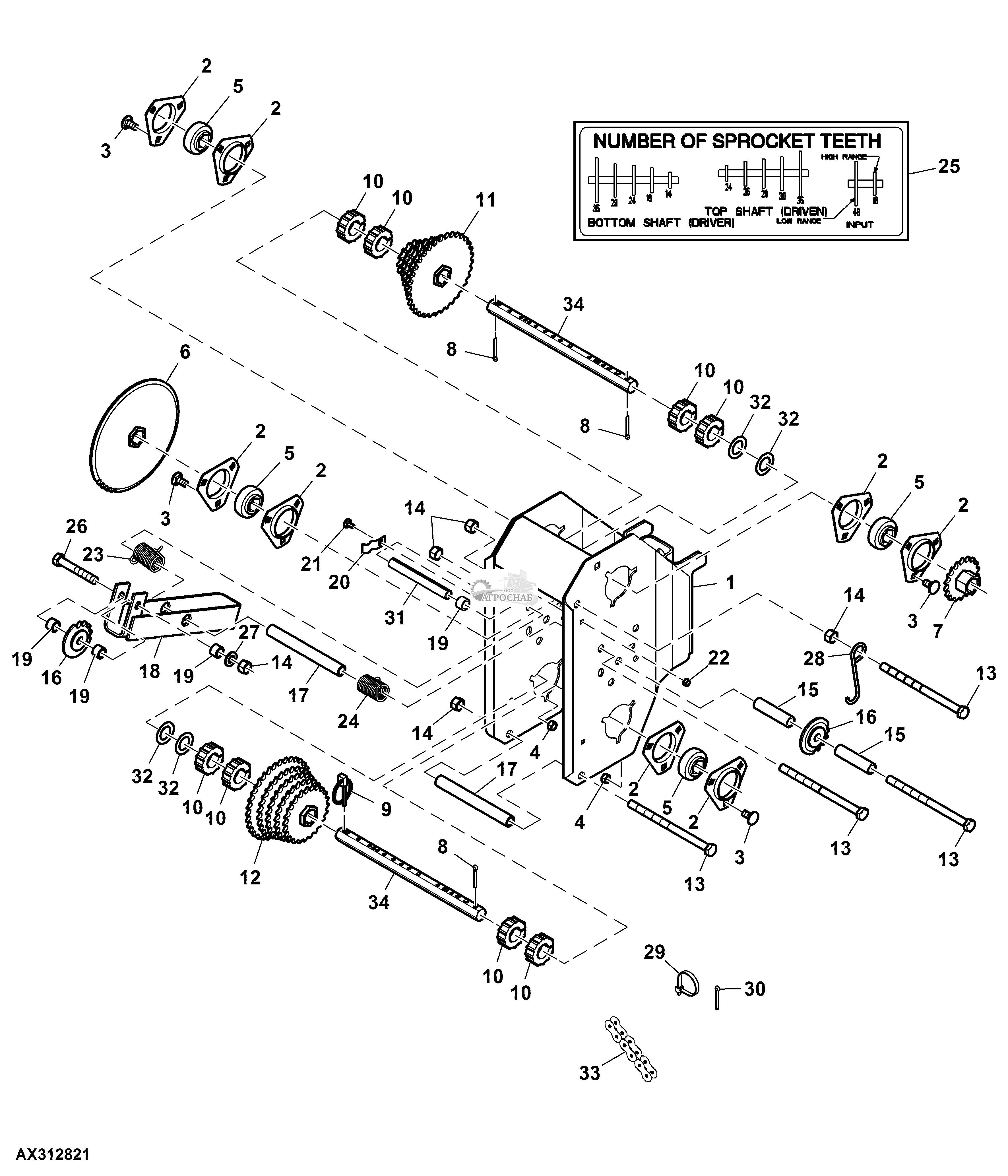
| key | PART NO. | PART NAME | QTY | SERIAL NO. | REMARKS | |
|---|---|---|---|---|---|---|
| 1 | AA36457 | Housing | 1 | |||
| 2 | H103264 | Pressed Flanged Housing | 8 | |||
| 3 | 03M7183 | Bolt | 12 | M8 X 16 | ||
| 4 | 14M7273 | Nut | 12 | M8 | ||
| 5 | JD9260 | Ball Bearing | 4 | |||
| 6 | AA32197 | Chain Sprocket | 1 | Z = 18 | ||
| 7 | AA35771 | Chain Sprocket | 1 | Z = 18 | ||
| 8 | 11M7028 | Cotter Pin | 3 | 5 X 32 mm | ||
| 9 | M72598 | Quick Lock Pin | 1 | |||
| 10 | A43610 | Spacer | 8 | |||
| key | PART NO. | PART NAME | QTY | SERIAL NO. | REMARKS | |
| 11 | AA74574 | Chain Sprocket | 1 | Z = 24 and Z = 35 | ||
| 12 | AA74573 | Chain Sprocket | 1 | Z = 14 | ||
| 13 | 19M8037 | Cap Screw | 4 | M12 X 180 | ||
| 14 | 14M7275 | Nut | 5 | M12 | ||
| 15 | A40622 | Spacer | 2 | |||
| 16 | AA32729 | Chain Sprocket | 2 | Z = 14 | ||
| 17 | A43076 | Spacer | 2 | |||
| 18 | AA31881 | Arm | 1 | |||
| 19 | A50245 | Spacer | 4 | |||
| 20 | A42756 | Clip | 1 | |||
| key | PART NO. | PART NAME | QTY | SERIAL NO. | REMARKS | |
| 21 | 03M7251 | Bolt | 1 | M6 X 12 | ||
| 22 | 14M7272 | Nut | 1 | M6 | ||
| 23 | A60909 | Extension Spring | 1 | RH | ||
| 24 | A60908 | Extension Spring | 1 | LH | ||
| 25 | A91381 | Sign | 1 | Sprocket Ratio | ||
| 26 | 19M7189 | Cap Screw | 1 | M12 X 80 | ||
| 27 | 24M7047 | Washer | 1 | 13 X 24 X 2.500 mm | ||
| 28 | A72080 | Catch | 1 | |||
| 29 | H77698 | Tie Band | 1 | |||
| 30 | 11M7085 | Cotter Pin | 4 | 6.300 X 63 mm | ||
| key | PART NO. | PART NAME | QTY | SERIAL NO. | REMARKS | |
| 31 | A47027 | Spacer | 1 | |||
| 32 | 24H1465 | Washer | 4 | 1-3/32" X 1-3/4" X 0.060" | ||
| 33 | ...... | Roller Chain | 1 | 40 ANSI, MF SW40X10US (Bulk Roller Chain) | ||
| 34 | A54317 | Bar | 2 |
| key | PART NO. | PART NAME | QTY | SERIAL NO. | REMARKS | |
|---|---|---|---|---|---|---|
| 1 | AA56167 | Hub | 1 | |||
| 2 | AA42528 | Hub | 1 | |||
| 3 | JD7846 | Lubrication Fitting | 1 | |||
| 4 | JD8225 | Bearing Cup | 2 | |||
| 5 | A22468 | Nut | 1 | |||
| 6 | A23321 | Washer | 2 | |||
| 7 | A40689 | Shaft | 1 | |||
| 8 | JD8187 | Bearing Cone | 2 | |||
| 9 | T140425 | Snap Ring | 1 | |||
| 10 | 22H898 | Set Screw | 1 | 1/4" X 3/8" | ||
| key | PART NO. | PART NAME | QTY | SERIAL NO. | REMARKS | |
| 11 | 32167 | Seal | 2 | |||
| 12 | AN132749 | Tire Valve Stem | 1 | |||
| 13 | JD16 | Wheel Bolt | 3 | |||
| 14 | 19H3775 | Cap Screw | 3 | 9/16" X 2-3/4" | ||
| 15 | 24H1890 | Washer | 3 | 19/32" X 1" X 1/4" | ||
| 16 | A58902 | Disk | 1 | Wheel Speed | ||
| 17 | AA75666 | Wheel | 1 | |||
| 18 | K38200 | Nut | 3 |
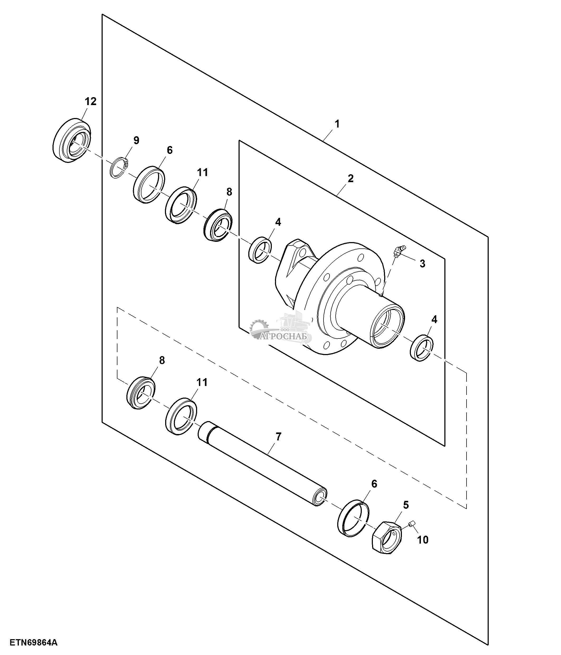
| key | PART NO. | PART NAME | QTY | SERIAL NO. | REMARKS | |
|---|---|---|---|---|---|---|
| 1 | A89430 | Shaft | 1 | |||
| 2 | 32167 | Seal | 2 | |||
| 3 | JD8187 | Bearing Cone | 2 | |||
| 4 | A23321 | Washer | 3 | |||
| 5 | JD8225 | Bearing Cup | 2 | |||
| 6 | AA42528 | Hub | 1 | |||
| 7 | JD7846 | Lubrication Fitting | 1 | |||
| 8 | A22468 | Nut | 1 | |||
| 9 | 22H898 | Set Screw | 1 | 1/4" X 3/8" |
| key | PART NO. | PART NAME | QTY | SERIAL NO. | REMARKS | ||
|---|---|---|---|---|---|---|---|
| 1 | AA57397 | Gear Case | 1 | ||||
| 2 | J16931 | Pin | 1 | ||||
| 3 | AA74430 | Strap | 1 | ||||
| 4 | 19M7163 | Cap Screw | 1 | M8 X 25 | |||
| 5 | 14M7273 | Nut | 1 | M8 | |||
| 6 | A74890 | Pin Fastener | 1 | ||||
| 7 | A81563 | Handle | 1 | (A) NLA; ORDER A96571 | |||
| A96571 | Handle | 1 | |||||
| 8 | AA74046 | Gear Case | 1 | - | 755228 | ||
| AA81649 | Gear Case | 1 | 755229 | - | |||
| key | PART NO. | PART NAME | QTY | SERIAL NO. | REMARKS | ||
| 9 | DQ58915 | Cable | 1 | LONG | |||
| 10 | 19M7789 | Screw | 1 | M12 X 30 | |||
| 11 | A90545 | Retainer | 1 | ||||
| 12 | A31867 | Lock Nut | 1 | ||||
| 13 | AA57526 | Drive Cable | 1 | SHORT |
| key | PART NO. | PART NAME | QTY | SERIAL NO. | REMARKS | |
|---|---|---|---|---|---|---|
| 1 | BA32248 | Drive Kit | 1 |
| key | PART NO. | PART NAME | QTY | SERIAL NO. | REMARKS | |
|---|---|---|---|---|---|---|
| 1 | AA57397 | Gear Case | 2 | |||
| 2 | AA62437 | Drive Cable | 1 | |||
| 3 | A74890 | Pin Fastener | 2 | |||
| 4 | A91354 | Bar | 1 | |||
| 5 | 34M7206 | Spring Pin | 1 | 6 X 40 mm | ||
| 6 | 24H1369 | Washer | 1 | 21/32" X 1-3/8" X 0.060" | ||
| 7 | B27397 | Compression Spring | 1 | |||
| 8 | A91355 | Sleeve | 1 | |||
| 9 | A52489 | Knob | 1 | |||
| 10 | 40M1826 | Snap Ring | 2 | |||
| key | PART NO. | PART NAME | QTY | SERIAL NO. | REMARKS | |
| 11 | 11M7015 | Cotter Pin | 1 | 3.200 X 25 mm | ||
| 12 | J16931 | Pin | 1 | |||
| 13 | 34H237 | Spring Pin | 1 | 3/32" X 1-1/4" |
| key | PART NO. | PART NAME | QTY | SERIAL NO. | REMARKS | |
|---|---|---|---|---|---|---|
| 1 | AA79079 | Bracket | 1 | |||
| 2 | H103264 | Pressed Flanged Housing | 6 | |||
| 3 | JD9260 | Ball Bearing | 3 | |||
| 4 | 03M7185 | Bolt | 6 | M8 X 25 | ||
| 5 | 14M7273 | Nut | 11 | M8 | ||
| 6 | A100608 | Spacer | 1 | |||
| 7 | 24M7091 | Washer | 4 | 26 X 44 X 4 mm | ||
| 8 | AA32197 | Chain Sprocket | 1 | Z = 18 and Z = 48 | ||
| 9 | A42555 | Chain Sprocket | 1 | ORDER AA32197 | ||
| 10 | A72914 | Bar | 1 | |||
| key | PART NO. | PART NAME | QTY | SERIAL NO. | REMARKS | |
| 11 | 11M7028 | Cotter Pin | 1 | 5 X 32 mm | ||
| 12 | A100606 | Spacer | 1 | |||
| 13 | AA32729 | Chain Sprocket | 4 | Z = 14 | ||
| 14 | 14M7275 | Nut | 4 | M12 | ||
| 15 | AA36828 | Chain Sprocket | 1 | Z = 14 | ||
| 16 | AA63702 | Chain Sprocket | 1 | Z = 29 | ||
| 17 | A46533 | U-Bolt | 1 | |||
| 18 | 14M7291 | Flange Nut | 2 | M16 | ||
| 19 | A53746 | Clamp | 2 | |||
| 20 | 19M7295 | Cap Screw | 2 | M8 X 45 | ||
| key | PART NO. | PART NAME | QTY | SERIAL NO. | REMARKS | |
| 21 | A90924 | Label | 1 | |||
| 22 | AA32771 | Arm | 2 | |||
| 23 | A44705 | Bushing | 2 | |||
| 24 | 14M7274 | Nut | 2 | M10 | ||
| 25 | A69997 | Torsion Spring | 1 | LH | ||
| 26 | 19M7073 | Cap Screw | 1 | M12 X 50 | ||
| 27 | A69996 | Torsion Spring | 1 | RH | ||
| 28 | M72598 | Quick Lock Pin | 1 | |||
| 29 | 19M7389 | Cap Screw | 2 | M12 X 60 | ||
| 30 | 28H3400 | Spacer | 1 | 0.546" X 0.840" X 9/16" | ||
| key | PART NO. | PART NAME | QTY | SERIAL NO. | REMARKS | |
| 31 | 24M7047 | Washer | 9 | 13 X 24 X 2.500 mm | ||
| 32 | 03M7184 | Bolt | 3 | M8 X 20 | ||
| 33 | 19M7329 | Cap Screw | 2 | M10 X 75 | ||
| 34 | 19M7403 | Cap Screw | 1 | M12 X 35 | ||
| 35 | 28H1666 | Bushing | 1 | 1.049" X 1.315" X 7/16" | ||
| 36 | ...... | Roller Chain | 1 | 40 ANSI, MF SW40X10US (Bulk Roller Chain) |
| key | PART NO. | PART NAME | QTY | SERIAL NO. | REMARKS | |
|---|---|---|---|---|---|---|
| 1 | A91402 | Bar | 1 |